
规划设计作为货架项目最初的一个阶段,直接决定了一个项目的水平。规划设计做得好,后续各个项目阶段均会按部就班有条不紊地执行;规划设计做得不好,不仅后续项目执行混乱无章,容易出现无标可依、无法验收等问题,而且一旦出现项目异常,除了直接的异常成本增加外,由于无法明晰责任,导致项目根本无从整改。
货架在实际使用中不能与用户或规划者提供的信息产生冲突,没有此类信息,就无法完成货架的设计。续接上篇,本文包含货架设计荷载、存储单元、非均布荷载、地震风雪荷载与环境五个方面的具体信息。
1. 概要
技术规范中应提供的信息包括:
a) 存储单元最大重量;
b) 每个货格最大均布荷载;
c) 驶入式货架轨道梁每米最大荷载或轨道梁长度方向均布荷载的最大值及尺寸;
d) 悬臂梁上最大荷载及其重心位置;
e) 地坪对货架的作用力;
f) 货物的易变形性;
g) 如果设计荷载非均布或与以上考虑的不同,那么应提供所有相关细节。
2. 机械上货特殊考虑因素
对于机械上货,技术规范中应特别考虑的因素有:
a) 设备上货操作引起的作用在货架上的附加力;
b) betway必威手机版官网下载类型;
c) 存取设备类型及其对货架作用的描述。
3. 操作方法
货架操作方法应与用户提供给规划者的设计资料一致。除非另有规定,否则货架供应商在设计时应假定货架满足设计操作净距和使用检测与维护的要求。
应明确搬运货物的方法,以确定在放置操作过程中施加在货架上的荷载。良好的机械搬运设备操作不会误操作或冲击货架。如果叉车没有以可控的方式放置托盘,那么就会对货架造成较大的荷载,例如:
a) 把托盘向后推,与货架接触着滑到位,从而产生一个很大的水平摩擦力;
b) 把安全背挡杆当作缓冲背挡杆使用;
c) 叉车桅杆变形过大时。
4. 撞击规定要求
用户有责任防止货架部件受到撞击或损坏。如果用户规定了抗冲击性,则碰撞防护和冲击规定应由规划者确定。这些冲击规定的要求应是以所使用的机械搬运设备和操作特性为基础的。
5. 背挡杆规定
规划者应明确背挡杆的要求:
a) 设置背挡杆的目的,即安全背挡杆还是缓冲背挡杆;
b) 背挡杆最大容许挠度,以保护辅助设备或防止存储单元倾落;
c) 动力冲击效应的等效水平静力;
d) 此力的作用位置。
6. 缓冲背挡杆
规划者应确定搬运设备施加在背挡杆上的力。若未确定,则设计者可参考相应设计规范中的规定值。
托盘缓冲背挡杆不应作为一种托盘定位方式,因为容易产生较大的冲击力。托盘缓冲背挡杆作为一种系统定位辅助,最经常与叉车操作配合。任何类型的托盘背挡杆的要求都应仔细考虑,明确规定以下几点:
a) 设计缓冲力的实际值可以超过最大存储单元荷载的100%,在设计货架时需要考虑更大的水平冲击载荷。在结构设计过程中包含此冲击力,不可避免地会导致设计的货架结构更重、更昂贵。
b) 不当使用将不可避免地导致事故和结构损坏。
c) 基于相关设计规范的净距应该能够经济和安全地使用货架,而不需要设置背挡杆。
7. 安全背挡杆
规划者应确定设计净距,保证安全背挡杆仅在意外情况下才受到撞击。
安全背挡杆是作为一种安全装置设置的,防止货架上存储单元偶然地移动从而侵入甚至是掉入巷道或人员公共区域。如果实际中安全背挡杆作为一种系统的辅助定位方式,那么应将其视为缓冲背挡杆。
8. 中转站
技术规范中应明确设计荷载与定位公差,特别是使用中心定位装置时中转站受到托盘缓冲力。
中转站的设计规范需要专门考虑功能需求,因为其在货架中经常是关键位置,可靠性非常重要。中转站可以配合堆垛机、叉车或其他自动化设备如传送机以及这些设备的组合使用。
9. 搬运设备荷载
对于堆垛机或由货架导向的窄巷式叉车,规划者应确定所有竖向和水平货物搬运、导向轨或支承轨缓冲或动力效应引起的等效静力。
10. 人工搬运体系
对于人工搬运的情况,单个存储单元或包裹超过整座搁板式货架总设计荷载的10%时,应明确单个存储单元的荷重,并提供给货架供应商,使其能适当考虑冲击效应。
1. 存储单元重量
规划者应明确存储单元的最大重量。
规划者可确定立柱组的容许荷载,确定考虑整体稳定的容许荷载时可以取比存储单元最大荷载低20%的荷重。这种在不同设计方面采用不同容许荷载的方法,只能在货架中有管理系统时才能使用,管理系统可以确保不超过较低的容许荷载。
管理系统应包含货架全高范围内的每层及全长范围内的每座货架的容许荷载的分布。如果有可靠的仓库管理软件可以控制每个储位的荷重,则货架的荷重分布可以在技术规范考虑。
2. 整体尺寸
托盘的整体比例及其荷载特征应由规划者提供,以确定支承与净距的设计基础,确保货架操作安全(见图1)。

图1 影响设计净距的托盘货载
规划者应考虑包括非均布荷载或非对称放置托盘在内的最不利情况,明确横梁或悬臂梁的承载(见图2到8)。
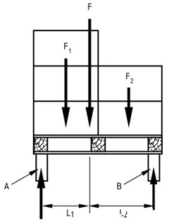
并不是所有的货架构件都是同等承受荷载的。非对称放置的货载或由多于两根悬臂梁承受荷载(见图3,反力A、B大小取决于存储单元的刚度),就是这种情况。
除非另行规定,货架设计者可假定托盘等承受均布荷载,且对称放置在支承构件上。当货架上存储着较多型号与尺寸的托盘或货物时,规划者应提供托盘或货物尺寸的范围给货架供应商,货架供应商应确保给予足够的安全支承。
不应使用图2所示的突出货载,因为很难控制其悬出尺寸以及倾覆稳定性。巷道的有效净宽也会受到不利影响。

图2 非对称放置的存储单元引起不等支座反力

图3 当存储单元居中放置且L1=L/6、L2=L/3时,横梁均等承载

图4 非均等承受荷载的三根承载梁

图5 存储单元变形导致的承载梁不均等承载

图6 不均等承载

图7 集中荷载

图8 非均布荷载
规划者应明确项目地点与设计规范,以便评估货架项目现场的地震、风与雪等荷载。
除非另行规定,风荷载与雪荷载仅适用于库架合一式结构或完全位于室外的货架结构。
如果货架设计考虑承受地震荷载,那么规划者应提供以下信息:
a) 场地、地基土特征,以及按照指定设计规范的设计地震荷载基本特征;
b) 货架与建筑物的重要性等级;
c) 存储货物及托盘或容器的特征,包括形状、重量、打包类型;
d) 货架与建筑物之间的相互作用,提供合适的净距以保证地震力作用下的侧移空间;
e) 一排货架指定的用于计算地震力的所有存储单元总重。
规划者应向货架供应商明确货架所处环境的最低与最高温度。
除非另行规定,货架供应商可假定:
a) 货架所在环境,一年中仅有数周,20°C测量相对湿度大于65%;
b) 包括地坪在内的环境是干燥的、无化学侵蚀的室内环境;
c) 冷库中的降温程序不会对货架造成额外的设计要求;
d) 存储区域能提供适当的供暖与照明。
如以上假定不能满足,规划者应提供具体信息以便货架供应商确定喷涂的质量与耐久性或者其他防腐表面处理措施。
本站的原创文章,请转载时务必注明出处:稳图WESAFE,不尊重原创的行为我们将追究责任。

