货架的生产、组装和安装的公差、变形和净距,对货架功能实现、搬运设备的运行具有重要作用。对于确定货架的可靠性以确保机械搬运设备撞击、托盘撞击或系统崩溃的几率在可接受的范围内也是很重要的。货架公差、变形和净距是货架结构设计安全理念的基础。
规划者有责任与用户协作,确保使用的公差、变形和净距对整体系统的安全操作是可接受的。在达到同等安全操作的情况下,规划者可以进行适当的设计/计算来改变某些参数。
考虑搬运设备的一般要求,货架安装公差、变形与净距分为不同组别,每个组别对应货架进行安全操作需要不同的安装公差、变形与最小净距。
本文讲述悬臂式货架相关的安装公差。
悬臂式货架一般用于存储较长或不规则物品。如图1所示。
图1 悬臂式货架
货架在安装完成后还未放货之前的空载状态,最大的容许公差应满足表1、表2、图2与图3的规定。货架安装完成后放货之前应对安装精度进行检测。以下公差限值不适用于放货之后的货架。
表1 水平方向的公差
表2 竖向公差
图2 竖向公差
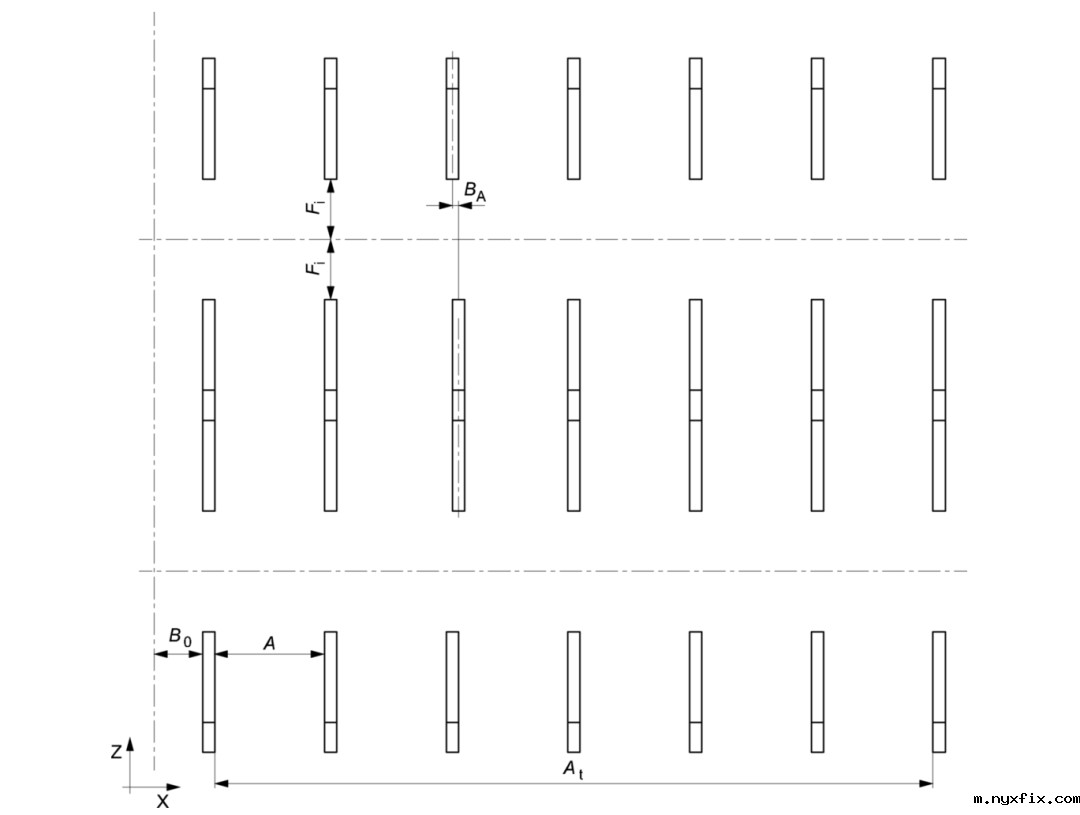
图3 水平公差
本站的原创文章,请转载时务必注明出处:稳图WESAFE,不尊重原创的行为我们将追究责任。